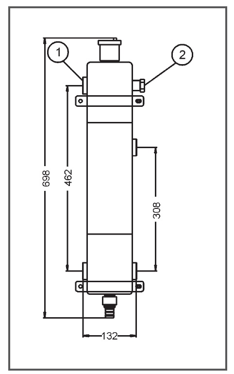
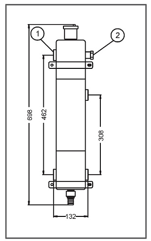
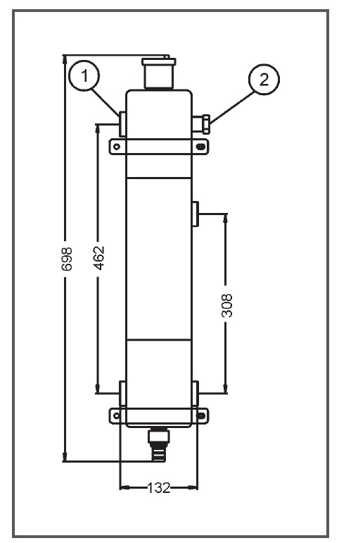
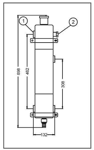
Гидравлический разделитель предназначен для разделения первичного (котлового) и вторичного (отопительного) контуров.
В комплект поставки входит:
- автоматический воздухоотводчик,
- отсечной клапан,
- сливной кран,
- теплоизоляция.
Гидравлический разделитель вертикальный 135 кВт МКС 135
Гидравлический разделитель вертикальный 135 кВт МКС 135
Подробнее
Получить коммерческое предложение
Документация
- 2D модели МКС135 Geffen 100620
- 3D_ Гидравлический разделитель МКС135 Вертикальный
- Инженерные решения для монтажников 2026_
- Каталог продукции GEFFEN 2024_
- Модульная коллекторная система МКС 135 - Инструкция по монтажу и эксплуатации 08_09_2025
- Отказ о решении сертификации по ПП 2425
- Полис страхования 2026
- Семейство BIM Гидравлический разделитель вертикальный МКС135 (R21)
Характеристики
| Максимальное давление | 6 бар |
| Бренд | GEFFEN |
| Гарантийный срок | 60 месяцев |
| Артикул | 01080103 |
| Страна производитель | Россия |
| Максимальная температура | 95 С |
| Межосевое расстояние | 154 мм |
| Максимальная мощность | 135 кВт |
Описание
- Комментарии
Загрузка комментариев...
